The ARAB HEALTH Exhibition is the largest exhibition in the Middle East and the second largest professional international medical equipment and health care exhibition in the world. The exhibition, which was first held in 1975 and is held annually, is recognized as a medical exhibition with good exhi
Inflammatory bowel disease (IBD) is a chronic non-specific intestinal inflammatory disease.At present cause still is not clear, have bigger difference with common enteritis.Inflammatory bowel disease (IBD) includes ulcerative colitis (UC) and crohn disease (CD).IBD is a common disease in North Ameri
What is intestinal obstruction?Obstruction of the passage of intestinal contents from any cause is referred to as intestinal obstruction. It is one of the common acute abdomen in surgery.Symptoms of intestinal obstructionIt usually presents with abdominal pain, bloating, nausea and vomiting, and ces
Fecal occult blood test is a simple and feasible preliminary screening method for colorectal cancer. The traditional guaiacal fecal occult blood test is affected by diet or drugs, and its sensitivity is low. FIT is an immunoassay technology for detecting fecal hemoglobin levels in the body. It is hi
It is necessary to maintain good stool habits to prevent constipation, because feces stay in the intestinal cavity for too long, so that toxins (amines, phenols, ammonia, azobenzene and other chemical carcinogens in the stool. The contact time of indole, methyl indole, hydrogen sulfide and other tox
May 19 is World Inflammatory Bowel Disease Day (IBD). Organized by the European Association for Crohn's disease and Ulcerative Colitis, with patient organizations from more than 50 countries on five continents, it aims to raise public awareness and understanding of inflammatory bowel disease (IBD),
The main examination method for ulcerative colitis (UC) is colonoscopy.Colonoscopy can be used to understand the extent and extent of inflammatory lesions, and can also be used in the follow-up process after treatment.On the basis of colonoscopy, clinical tests such as blood routine, CRP, inflammato
Total mesorectal excision (TME) is the standard surgical procedure for middle and low rectal cancer. But in the actual operation process, the quality of TME will be affected by a variety of factors, such as high position of rectal cancer, obesity, pelvic stenosis patients with middle and low rectal
Irritable bowel syndrome (IBS) is one of the most common disorders of gastrointestinal function in clinical practice. It is a kind of physical and mental disease with special pathophysiological basis, characterized by abdominal pain and abdominal discomfort related to defecation, accompanied by chan
Lynch syndrome is the most common syndrome of hereditary colorectal cancer, accounting for 2%-3% of all colorectal cancers.Lynch syndrome, also known as Lynch syndrome, is an autosomal dominant genetic disease, in which patients are born with mismatch repair gene mutations, the essence of which lies
| Size: | |
|---|---|
| Material: | |
| Availability: | |
| Quantity: | |
TPYGWA/B-17H/TPYGWA/B-17L/TPYGWA/B-19H/TPYGWA/B-19L/TPYGWA/B-21H/TPYGWA/B-21L/TPYGWA/B-23H/TPYGWA/B-23L/TPYGWA/B-26H/TPYGWA/B-26L/TPYGWA/B-29H/TPYGWA/B-29L/TPYGWA/B-32H/TPYGWA/B-32L/TPYGWA/B-34H/TPYGW
Topsuper
| Place of Origin | Changzhou, Jiangsu,China | 
| Brand | Tosuper | 
| Model | TPYGWA/B-17H/TPYGWA/B-17L/TPYGWA/B-19H/TPYGWA/B-19L/TPYGWA/B-21H /TPYGWA/B-21L/TPYGWA/B-23H/TPYGWA/B-23L/TPYGWA/B-26H/TPYGWA/B-26L/ TPYGWA/B-29H/TPYGWA/B-29L/TPYGWA/B-32H/TPYGWA/B-32L/TPYGWA/B-34H/TPYGW  |  
| Power Source | Manual | 
| Warranty | 3 years | 
| Material | 12Cr18Ni9, ABS | 
| Shelf Life | 3 years | 
| Quality Certification | CE MDD and ISO 13485 | 
| Instrument Classification | Class II | 
| After-sale Service: | Online Technical Support | 
| Safety Standard | ISO 13485 | 
| Sterilization | ETHYLENE OXIDE | 
| Application | Suitable for end-to-end anastomosis, end-to-side anastomosis and lateral anastomosis in digestive tract reconstruction such as esophagus, stomach and intestine. | 
| OEM | Acceptable | 
| Packaging | Blister and plastic | 
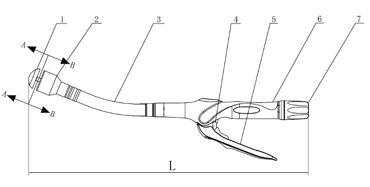
Structure Diagram
1. Anvil, 2. Anastomotic Excision Unit, 3. Bend, 4. Safety Button, 5. Moveable Handle, 6. Main Handle, 7. Adjusting Nut
Packing
Inner packing: Blister, Dialyzing Paper
Out packing: 300g White Cardboard
Delivery packing: Double-wall Corrugated Paper
Shipping Port
Shanghai/Ningbo/Guangdong/Shenzhen
1.We support customization
2.24-hour manual customer service
3.Online Technical support
4.We support OEM
5.Answer your questions one to one online
Welcome. Pls feel free to send us an email here. You will get our reply in 30 mins.
Yes, we offer OEM and ODM services.
After you place a order,the production handling time is about 7-30 days.
After price confirmation, you can require for samples to check our quality. If you just need a blank sample, we will provide you sample for free, as long as you afford the express freight.
Yes, each step of production and finished products will be came out inspection by QC department before shipping.
content is empty!